JD-WR装配式热电偶
普通装配式热电偶
| 应用 | |||||||||||||||||||||||||||||||||||||||||||||||||||||||||||||||||||||||||||||||||||||||||||||||||||||||||||||||||||||||||||||||||||||||||||||||||||
|
通常和显示仪表、记录仪表、电子计算机等配套使用。直接测量各种生产过程中0~1300℃范围内的液体、蒸汽和气体介质以及固体表面温度。
|
![]() |
||||||||||||||||||||||||||||||||||||||||||||||||||||||||||||||||||||||||||||||||||||||||||||||||||||||||||||||||||||||||||||||||||||||||||||||||||
| 特点 | |||||||||||||||||||||||||||||||||||||||||||||||||||||||||||||||||||||||||||||||||||||||||||||||||||||||||||||||||||||||||||||||||||||||||||||||||||
| ●装配简单,更换方便; ●压簧式感温元件,抗振性能好; ●测量范围大; ●机械强度高,耐压性能好; |
|||||||||||||||||||||||||||||||||||||||||||||||||||||||||||||||||||||||||||||||||||||||||||||||||||||||||||||||||||||||||||||||||||||||||||||||||||
| 工作原理 | |||||||||||||||||||||||||||||||||||||||||||||||||||||||||||||||||||||||||||||||||||||||||||||||||||||||||||||||||||||||||||||||||||||||||||||||||||
|
热电偶的电极由两根不同导体材质组成。当测量端与参比端存在温差时,就会产生热电势,工作仪表便显示出热电势所对应的温度值。
|
|||||||||||||||||||||||||||||||||||||||||||||||||||||||||||||||||||||||||||||||||||||||||||||||||||||||||||||||||||||||||||||||||||||||||||||||||||
| 主要技术参数 | |||||||||||||||||||||||||||||||||||||||||||||||||||||||||||||||||||||||||||||||||||||||||||||||||||||||||||||||||||||||||||||||||||||||||||||||||||
| ○产品执行标准 IEC584 IEC1515 GB/T16839-1997 JB/T5582-91 |
|||||||||||||||||||||||||||||||||||||||||||||||||||||||||||||||||||||||||||||||||||||||||||||||||||||||||||||||||||||||||||||||||||||||||||||||||||
| ○常温绝缘电阻 | |||||||||||||||||||||||||||||||||||||||||||||||||||||||||||||||||||||||||||||||||||||||||||||||||||||||||||||||||||||||||||||||||||||||||||||||||||
|
热电偶在环境温度为20±15℃,相对湿度不大于80%,试验电压为500±50V(直流)电极与外套管之间的绝缘电阻≥100MΩ.m。
|
|||||||||||||||||||||||||||||||||||||||||||||||||||||||||||||||||||||||||||||||||||||||||||||||||||||||||||||||||||||||||||||||||||||||||||||||||||
|
装配式热电阻温度传感器与显示仪表配套,测量-200~600℃范围内的液体、气体介质以及固体表面等的温度,广泛用于石油、化工、机械、冶金、电力、轻纺、食品、原子能、宇航等工业部门和科技领域。
热电阻是利用物质在温度变化时本身电阻也随着发生变化的特性来测量温度的。热电阻的受 热部分(感温元件)是用细金属丝均匀地双绕在绝缘材料制成的骨架上,当被测介质中有温度梯 度存在时,所测得的温度是感温元件所在范围内介质层中的平均温度. 特点 全国统一设计产品,接口尺寸通用,互换性好; 采用装配式结构,零件分解性好,维修方便; 更换易损件成本低; 规格齐全,性能稳定可靠。 绝缘电阻 装配铂热电阻的常温绝缘电阻应不小于100MΩ 装配铜热电阻的常温绝缘电阻应不小于50MΩ 常温绝缘电阻的试验电压为10~100VDC。 自热影响:铂电阻允许通过的最大电流为5mA,由此产生的温升不大于0.3℃。 热响应时间:在温度出现阶跃变化时,热电阻的输出变化至相当于该阶跃变化的50%,所需 要的时间,称为热响应时间,用τ0.5表示。
热电阻最小插入深度:应不小于其保护套管外径的8-10倍。 绝缘电阻:当周围空气温度为15-35℃,相对湿度<80%时,绝缘电阻20兆欧(电压100V)。具有防溅式接线盒的绝缘电阻应2兆欧(电压100V) 热电阻感温元件在0℃时电阻值(R0)及其与在100℃时的电阻值(R100)比值: 比值=R100/R 分度号为Pt10、Pt100时;R100/R0 =1.3850±0.001 分度号为Cu50、Cu100时;R100/R0 =1.3850±0.002
|
|||||||||||||||||||||||||||||||||||||||||||||||||||||||||||||||||||||||||||||||||||||||||||||||||||||||||||||||||||||||||||||||||||||||||||||||||||
| ○测量范围及允差 | |||||||||||||||||||||||||||||||||||||||||||||||||||||||||||||||||||||||||||||||||||||||||||||||||||||||||||||||||||||||||||||||||||||||||||||||||||
|
|||||||||||||||||||||||||||||||||||||||||||||||||||||||||||||||||||||||||||||||||||||||||||||||||||||||||||||||||||||||||||||||||||||||||||||||||||
|
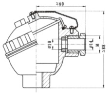
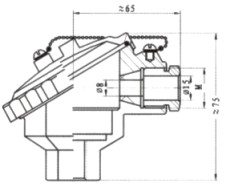
○接线盒形式
|
|||||||||||||||||||||||||||||||||||||||||||||||||||||||||||||||||||||||||||||||||||||||||||||||||||||||||||||||||||||||||||||||||||||||||||||||||||
|
|||||||||||||||||||||||||||||||||||||||||||||||||||||||||||||||||||||||||||||||||||||||||||||||||||||||||||||||||||||||||||||||||||||||||||||||||||
|
注:电气出口M未特殊指明,一律视为M20×1.5。
|
|||||||||||||||||||||||||||||||||||||||||||||||||||||||||||||||||||||||||||||||||||||||||||||||||||||||||||||||||||||||||||||||||||||||||||||||||||
| 型号命名方法 | |||||||||||||||||||||||||||||||||||||||||||||||||||||||||||||||||||||||||||||||||||||||||||||||||||||||||||||||||||||||||||||||||||||||||||||||||||
|
|||||||||||||||||||||||||||||||||||||||||||||||||||||||||||||||||||||||||||||||||||||||||||||||||||||||||||||||||||||||||||||||||||||||||||||||||||
![]() |
|||||||||||||||||||||||||||||||||||||||||||||||||||||||||||||||||||||||||||||||||||||||||||||||||||||||||||||||||||||||||||||||||||||||||||||||||||
| 选型须知 | |||||||||||||||||||||||||||||||||||||||||||||||||||||||||||||||||||||||||||||||||||||||||||||||||||||||||||||||||||||||||||||||||||||||||||||||||||
|
1)型号
例A:热电偶,K型,Ⅰ级,固定螺纹 M27×2,保护管316L,长度450mm,插入深度300mm。HR-WRN-220,K偶,L×I=450×300,Ⅰ级,保护管316L,螺纹M27×2。 |
|||||||||||||||||||||||||||||||||||||||||||||||||||||||||||||||||||||||||||||||||||||||||||||||||||||||||||||||||||||||||||||||||||||||||||||||||||
| 热电偶(适用于铠装和隔爆热电偶) | ||||||||||||||||||||||||||||||||||||||||||||||||||||||||||||||||||||||||||||||||||||||||||||||||||||||||||||||||||||||||||
|
||||||||||||||||||||||||||||||||||||||||||||||||||||||||||||||||||||||||||||||||||||||||||||||||||||||||||||||||||||||||||
|
||||||||||||||||||||||||||||||||||||||||||||||||||||||||||||||||||||||||||||||||||||||||||||||||||||||||||||||||||||||||||
|
保护管材质及选用
|
||||||||||||||||||||||||||||||||||||||||||||||||||||||||||||||||||||||||||||||||||||||||||||||||||||||||||||||||||||||||||
|
||||||||||||||||||||||||||||||||||||||||||||||||||||||||||||||||||||||||||||||||||||||||||||||||||||||||||||||||||||||||||



