 |
用途 |
| |
| JD-3051DP差压变送器主要用于测量液体、气体或蒸汽的差压、压力、液位和密度,然后将其转换成4~20mA.DC信号输出。 |
|
 |
通用技术性能和参数 |
| |
输出信号:4~20MA.DC二线制(模拟)
二线制4~20mA直流信号上叠加数字信号,由用户选
择线性或开方输出。(智能)
供电电源:12~45V.DC(详见负载特性图)
负载特性:
量 程 比:10:1或100比1
电源影响:<0.005%输出量程/V
负载影响:电源稳定时,无负载影响。
测量精度:调校量程的±0.1%,±0.2%
(标配精度为±0.2%,若选择其他精度请在订货选型时注明。)
阻 尼:通常可在0.1至16秒之间任意设定。
启动时间:<2秒,不需预热 |
|
|
| |
工作环境:环境温度 -29~93℃(模拟放大器)
-29~75℃(数字/智能放大器)
-29~65℃(带显示表头)
环境湿度 0~95%
防护特性:防护能力 IP65
防爆类型:隔爆型 Exd II BT4-6
本安型 Exia II CT5
静压影响:DP类零位误差:对于14MPa,±0.1%最大量程限值或±0.25%最大量程限值(量程代号为3),在管
道压力下通过调零给予校正。
HP类零位误差:±0.5%最大量程限值,对于32MPa在管道压力下通过调零给予校正。
电磁辐射影响:0.05%最大量程值,接受辐射频率27~500MHz,试验场强3V/m。
指示表(%):液晶数显 精度±0.2%
振动影响:任何方向200Hz振动时,±0.05%/g。
安装位置:膜片未垂直安装,可能产生小于0.24KPa的零点误差,但可通过调零来修正。
重 量:3.9Kg(不包括附件) |
|
 |
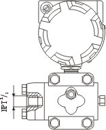
典型产品外形尺寸 |
| |
|
 |
安装形式 |
| |
变送器的安装方式有三类:一是借助于多种结构的安装支架(图A~C ),独立安装于测量对象之外,适用于DP、HP、DR、DP 、GP和AP型; |
|
| |
|
|
|
A.板装弯支架.订货代号B2
|
B.管装弯支架.订货代号B1
|
C.管装平支架.订货代号B3
|
|
| |
|
| |
|
引压形式
|
压力容室螺孔引入
|
椭圆接头螺孔引入
|
一体化安装平衡阀引入
|
|
特征
|
引压管直接与压力容室的螺孔
NPT  联接
|
引压管通过椭圆接头上的螺孔
NPT  与压力容室联接
|
引压管通过与其焊接的球形接
头,与平衡阀及压力容室联接
|
|
图例
|
|
|
|
|
适用范围
|
压力变送器
|
压力变送器或差压变送器
|
|
|
| |
●引压连接方式 |
| |
表4 引压方式
|
| |
|
选件类型
|
代号
|
名 称
|
示 意 图
|
说 明
|
|
引压附件
|
不注
|
椭圆接头
|
_____
|
引压孔为椭圆接头内螺纹NPT 
|
|
C1
|
NPT  外
螺纹接头
|
|
一端与椭圆接头内螺纹孔相连,另一端与引压管φ13相焊接。
|
|
C2
|
M20×1.5
丁字接头
|
 |
一端压紧在变送器的压力容室或三阀组上,另一端与引压管φ13相焊接。
|
|
C3
|
NPT  外
螺纹接头
|
|
一端拧入变送器压力容室的内螺纹孔内,另一端与引压管φ13相焊接。
|
|
接触介质O形环
|
不注
|
氟橡胶
|
|
在浓酸、强氧化酸、有机溶液中较
稳定,不能用于氨类介质。
|
|
W2
|
丁 腈橡胶
|
具有良好的耐油性和耐寒性。
|
|
W3
|
乙烯-丙烯
橡胶
|
有良好的耐臭氧性。耐气候性,不宜用于汽油或变压器油中。
|
|
W4
|
氯丁橡胶
|
抗臭氧和耐油性好,耐中强酸和氨类物质。
|
|
输入/输出
特 性
|
不注
|
正向特性
|
|
输出电流与输入压力成正比。
|
|
V1
|
反向特性
|
1.对DP、HP或DR用户可先通过正向特性调准量程,再采用负迁移将无压力输入时的电流调为20mA,然后把被测压力接到低压侧即可实现。
2.对GP必须通过制造厂专门装配和调试来实现。
|
|
防 爆
|
I
|
本安型
|
____
|
防爆标志ExiaⅡCT5
|
|
表面处理
|
K1
|
脱脂处理
|
____
|
脱脂后干燥处理
|
|
K2
|
用惰性液灌充元件,并经脱脂处理。
|
|
 |
JD-3051DP型差压变送器 |
| |
| 代号 测量范围 (KPa) |
|
3
4
5
6
7
8
|
0 - 1.3 ~ 7.5
0 - 6.2 ~ 37.4
0 - 31.1 ~ 186.8
0 - 117 ~ 689.5
0 - 345 ~ 2068
0 - 1170 ~ 6895 |
|
| |
| 代号 输出形式 |
|
SF
S
|
4~20mA.DC 数字放大器,兼有平方根输出,并带4位LCD数字显示
4~20mA.DC 智能放大器,可选择开方或线性,并采用HART协议通讯 |
|
| |
| 代号 容室和接头材质 排气/排液阀材质 |
|
1
2
3
4
|
碳钢镀铬 316钢
316钢 316钢
哈氏合金C 哈氏合金C
蒙耐尔合金 蒙耐尔合金 |
|
| |
| 代号 隔离膜片材质 |
|
2
3
4
5
|
316L钢
哈氏合金C
蒙耐尔合金
钽 |
|
| |
| 代号 静压允许值 (MPa) |
|
B
C
D
|
5
10
14 |
|
| |
| 代号 灌充液种类 |
无
F |
低粘度硅油
氟油(惰性液,用于制氧系统) |
|
| |
|
| |
|
| |
| JD-3051DP 5 E 2 3 C F M3 B2 0~150KPa 选型举例 |
|