JD-LC射频电容液位变送器
|
JD-LC缆式液位变送器
JD-LR杆式液位变送器 JD-LD直装式液位变送器 |
|
外形尺寸
![]() |
![]() |
![]() |
|
JD-LC缆式液位变送器
(普通形式连接) 1、变送器外壳 2、信号线缆接头 3、传感器电缆 4、传感器外壳 5、传感器 |
JD-LC缆式液位变送器
(外螺纹形式连接) 1、变送器外壳 2、信号线缆接头 3、外螺纹G2 4、传感器外壳 5、传感器 |
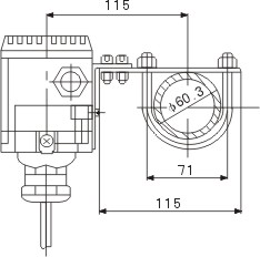
JD-LC缆式液位变送器
(法兰形式连接) 1、变送器外壳 2、信号线缆接头 3、法兰DN50、DN80、DN100 4、传感器电缆 5、传感器外壳 6、传感器 |
|
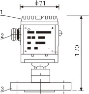
JD-LD直装式液位变送器
1、变送器外壳 2、信号线缆接头 3、连接法兰 |
JD-LR杆式液位变送器
(法兰形式连接) 1、变送器外壳 2、信号线缆接头 3、法兰DN50、DN80、DN100 4、传感器电缆 5、传感器外壳 6、传感器 |
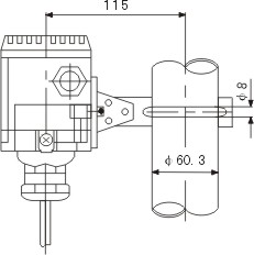
JD-LR杆式液位变送器
(外螺纹形式连接) 1、变送器外壳 2、信号线缆接头 3、外螺纹G2 4、传感器外壳 5、传感器 |
固定配件
JD-LC/LR型缆式和杆式液位变送器具有多种安装固定方式,以适应不同现场情况。当现场不能够提供G2的内螺纹或法兰等工艺设施时,可选择普通形式的液位变送器,它有墙壁安装式、水平管架式和垂直管架式等三种安装方式可选择,使您在现场安装时得心应手。
![]() ![]() 墙壁安装 [1-螺钉M5, 2-膨胀螺钉M8] |
||
![]() 水平管架安装 |
|
![]() 垂直管架安装 |
配重和防护罩
在测量流动性较大的介质时,为防止传感器剧烈摆动,用户可选用配重附件,以起到稳定传感器的作用。配重以法兰形式提供(DN50、PN4.0MPa、GB116.7-88),用户可以用螺栓将其固定于工艺设施。
在现场环境较恶劣时,用户应选用传感器防护罩来保护传感器,以免被异物损坏或影响测量的准确性。
![]() |
![]() |
|
配重示意图
1、传感器外壳 2、螺钉M3 3、法兰DN50 |
防护罩示意图
1、传感器外壳 2、螺钉M3 3、防护罩 |
法兰尺寸
|
公称通径
DN |
法兰外径
D |
螺栓孔中
心圆直径 K |
螺栓孔径
n |
螺栓数量
|
螺栓尺寸
Th |
密封面直径
d |
密封面高度
f |
法兰厚度
G |
|
50
|
165
|
125
|
18
|
4
|
M16
|
99
|
3
|
20
|
|
80
|
200
|
160
|
18
|
8
|
M16
|
132
|
3
|
24
|
|
100
|
235
|
190
|
22
|
8
|
M20
|
156
|
3
|
24
|
|
压力范围
|
代号
|
满量程调节范围
|
允许过载(MPa)
|
|
0~10KPa
|
D3
|
1~10KPa
|
0.6
|
|
0~20KPa
|
D5
|
10~20KPa
|
0.6
|
|
0~40KPa
|
D7
|
12~40KPa
|
0.6
|
|
0~60KPa
|
D8
|
20~60KPa
|
0.6
|
|
0~100KPa
|
E1
|
30.0~100KPa
|
1.0
|
|
0~160KPa
|
E2
|
60.0~200KPa
|
1.0
|
|
0~200KPa
|
E3
|
60.0~200KPa
|
1.0
|
|
0~250KPa
|
E4
|
120.0~400KPa
|
1.0
|
|
0~400KPa
|
E5
|
120.0~400KPa
|
1.0
|
|
0~0.6MPa
|
F1
|
0.2~0.6MPa
|
2.0
|
|
0~1.0MPa
|
F2
|
0.3~1.0MPa
|
2.0
|
|
类型
|
|||||||||||||
|
JD-L1C缆式陶瓷电容型
JD-L2C缆式扩散硅型 JD-L1R杆式陶瓷电容型 JD-L2R杆式扩散硅型 JD-L1D直装式陶瓷电容型 JD-L2D直装式扩散硅型 |
|||||||||||||
|
|
| | | | | | | | | | | | | | | | | | | | | | | | | | | | | | | | | | | | | | | | | |
过程连接件材料
|
||||||||||||
|
3
9 |
不锈钢1Cr18Ni9Ti
特殊约定 |
||||||||||||
|
|
| | | | | | | | | | | | | | | | | | | | | | | | | | | | | | | | | | | | | | | |
过程连接方式
|
||||||||||||
|
T
F Y |
外螺纹G1 1/2
法兰DN50 PN1.6MPa GB9119 特殊约定 |
||||||||||||
|
|
| | | | | | | | | | | | | | | | | | | | | | | | | | | | | | | | | | |
过程连接材料
|
||||||||||||
|
3
5 9 |
不锈钢1Cr18Ni9Ni
丁 腈 橡胶与聚氯乙烯复合物 特殊约定材料 |
||||||||||||
|
|
| | | | | | | | | | | | | | | | | | | | | | | | | | | | | | | |
传感器密封材料
|
||||||||||||
|
1F
2F 9F |
氟橡胶
丁 腈 橡胶 特殊要求 |
||||||||||||
|
|
| | | | | | | | | | | | | | | | | | | | | | | | | | | |
输出信号
|
||||||||||||
|
2
9 |
4~20mA二线
特殊约定 |
||||||||||||
|
|
| | | | | | | | | | | | | | | | | | | | | | | | |
外壳类型
|
||||||||||||
|
A
B Y |
铝外壳无现场指示IP65
铝外壳带现场指示IP65(模拟显示表) 特殊要求 |
||||||||||||
|
|
| | | | | | | | | | | | | | | | | | | | |
精度等级
|
||||||||||||
|
2
5 6 7 9 |
0.2
0.5 1.0 2.0 特殊要求 |
||||||||||||
|
|
| | | | | | | | | | | | | | |
配重
|
||||||||||||
|
H
Z Y |
无配重
标准配重 特别约定 |
||||||||||||
|
|
| | | | | | | | | | |
|
|
|
|
|
||||||||
|
安装尺寸(单位)
|
|||||||||||||
|
|
| | | | | | | | |
|
|
|
|
|||||||||
|
量程代码
|
|||||||||||||
|
|
| | | | | | |
|
|
|
||||||||||
|
附加功能
|
|||||||||||||
|
I
L |
本安型ExiaⅡCT5
传感器电缆长度(m) |
||||||||||||
|
|
| | |
|
|
|||||||||||
|
JD-L1C
|
3
|
F
|
3
|
1F
|
2
|
B
|
5
|
H
|
|
D7
|
IL(5m)
|
|
|












